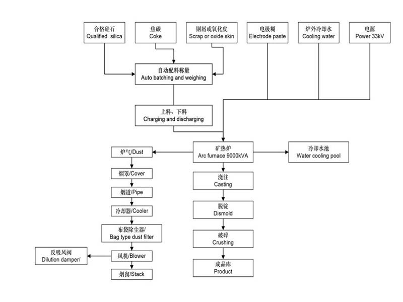
تتضمن العملية من المواد الخام إلى المنتج النهائي (FeSi) دورة الإنتاج الكاملة لتخزين المواد الخام، وقبول الوقود، والتجميع، والخلط، والاختزال، والنقر. تشمل المعدات الرئيسية فرن الفيروسيليكون، وورشة معالجة المواد الخام، ونظام الخلط الأوتوماتيكي، ونظام التغذية، ونظام تدوير مياه التبريد، ونظام إزالة الغبار، ونظام إمداد وتوزيع الطاقة، ونظام التشغيل الآلي، وورشة صب الفيروسيليكون، ونظام مناولة المنتجات النهائية. تتوافق العملية مع متطلبات GB/T 2272.
